| 轻柴油系列 - CX20/CX20-2 | ||||
| 耗油量 | 6.0-20.0 | 公斤/小时/kg/hr | ||
| 输出功率 | 71-237 | 千瓦kw | ||
| 输出热量 | 61200-204000 | 卡/小时cal/h | ||
| 电机功率 | 180 / 250 | 瓦w | ||
| 电源供应 | 220/50 | V/Hz | ||
| 调节方式 | 单级调节 / 多级调节 | |||
| 包装尺寸 | 545*455*360 / 650*475*495 | mm | ||
| 净量 | 18 / 19.5 | kg | ||
| 供风方式 | 强制鼓风 | |||
| 燃料 | 轻油 | |||
| 压力 | 低压 | |||
| 结构 | 一体 | |||
| 功能 | ||||
| 安全保护系统 | 自动控制器 | ✔ | ||
| 火焰监测装置 | ✔ | |||
| 燃料供给系统 | 过滤器 | ✔ | ||
| 燃料泵 | ✔ | |||
| 压力调节器 | ✔ | |||
| 燃料流量调节装置 | ✔ | |||
| 自动安全切断 | ✔ | |||
| 受控停机 | 在燃烧器无需供热时,自动切断燃料供应,实现停机的过程 | ✔ | ||
| 安全停机 | 在安全装置响应或自动控制系统发生故障后,自动切断燃料供应,实现停机的过程 | ✔ | ||
| 包装 | ||||
| 每箱数量(pc) | 1 | |||
| 型号 | 纸箱尺寸(长×宽×高) | 净重(kg) | 毛重(kg) | |
| 标准型 | 545×455×360mm | 14kg | 17kg | |
| 加长型1 | 625×470×360mm | 15kg | 18kg | |


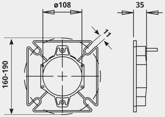
| 单位 mm | A | B | C | D | E | F | G | H | 到地板最小距离 |
| 标准型 | 115 | Φ104 | Φ108 | 372 | 220 | 83 | 175 | 207 | 200 |
| 加长型1 | 187 |